全国空降快餐QQ联系方式,南京喝茶大活场子,品茶修车论坛最新
Toggle navigation
重庆川流机械有限公司
网站首页
公司简介
企业文化
资质证书
公司业绩
汇款信息
重点客户
产品展示
润滑系统
润滑设备配件
新闻动态
应用案例
文档中心
联系我们
欢迎光临
重庆川流机械有限公司
官网!您的肯定是我奋斗的目标!
欢迎光临
重庆川流机械有限公司
官网!
新闻动态
润滑常识
公司动态
机械新闻
设备润滑方式之油环与油链润滑
2012-03-02 09:06
关键词:设备润滑,润滑方式,油环,油链润滑
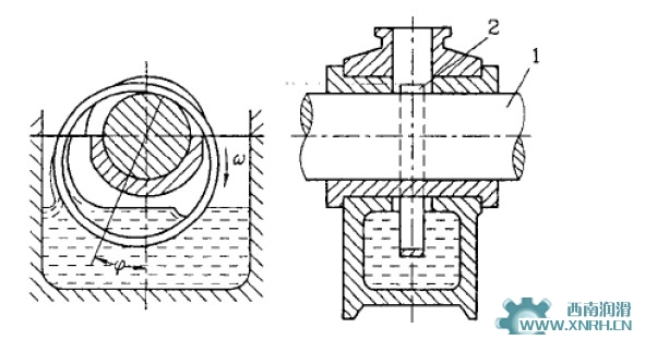
油环与油链润滑依靠套在轴上的油环或油链将油从油池中带到润滑部位。
如图所示,套在轴1上的油环2下部在油池中,当轴旋转时,靠摩擦力带动油环转动,从而把油带入轴承中进行润滑。
上一篇:开式齿轮的传动与润滑
下一篇:抵抗式集中稀油润滑系统组成及特点
为您推荐
智能集中润滑系统输送用的润滑脂如何选
国内润滑技术公司的诞生
先进的供油系统:喷射式集中润滑
搞好矿山设备润滑的紧迫性
油气润滑和油雾润滑的比较
相关产品
主站蜘蛛池模板:
山东省
|
贵定县
|
宜章县
|
德保县
|
海宁市
|
南京市
|
洛宁县
|
天镇县
|
砀山县
|
宜宾县
|
通化县
|
昌邑市
|
南平市
|
瑞丽市
|
乌拉特前旗
|
兖州市
|
平舆县
|
东台市
|
杂多县
|
嘉义县
|
永福县
|
兴业县
|
神农架林区
|
大丰市
|
同心县
|
德清县
|
三原县
|
定安县
|
四子王旗
|
轮台县
|
白玉县
|
赣榆县
|
兴业县
|
南昌县
|
高青县
|
商丘市
|
勐海县
|
金沙县
|
宜兴市
|
浙江省
|
玉林市
|