全国空降快餐QQ联系方式,南京喝茶大活场子,品茶修车论坛最新
Toggle navigation
重庆川流机械有限公司
网站首页
公司简介
企业文化
资质证书
公司业绩
汇款信息
重点客户
产品展示
润滑系统
润滑设备配件
新闻动态
应用案例
文档中心
联系我们
欢迎光临
重庆川流机械有限公司
官网!您的肯定是我奋斗的目标!
欢迎光临
重庆川流机械有限公司
官网!
新闻动态
润滑常识
公司动态
机械新闻
设备润滑之油环与油链润滑
2011-03-08 08:49
关键词:设备润滑,油环,油链润滑
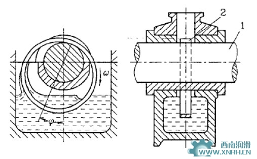
依靠套在轴上的油环或油链将油从油池中带到润滑部位。
如图所示,套在轴1上的油环2下部在油池中,当轴旋转时,靠摩擦力带动油环转动,从而把油带入轴承中进行润滑。
上一篇:设备润滑方式之飞溅润滑
下一篇:机床润滑系统常见故障维修
为您推荐
智能集中润滑系统输送用的润滑脂如何选
国内润滑技术公司的诞生
先进的供油系统:喷射式集中润滑
搞好矿山设备润滑的紧迫性
油气润滑和油雾润滑的比较
相关产品
主站蜘蛛池模板:
松溪县
|
深圳市
|
永福县
|
庆城县
|
阳原县
|
十堰市
|
卫辉市
|
宁国市
|
松阳县
|
台中县
|
湖口县
|
新宾
|
保德县
|
渭源县
|
五寨县
|
和政县
|
大丰市
|
永昌县
|
蒙阴县
|
明水县
|
台山市
|
略阳县
|
瓦房店市
|
辉县市
|
乌兰察布市
|
兴海县
|
保靖县
|
姚安县
|
宣化县
|
博湖县
|
县级市
|
家居
|
德化县
|
阜宁县
|
东丰县
|
德昌县
|
财经
|
宣城市
|
石阡县
|
松潘县
|
高邑县
|